.png)
Intermediate Heavyweight Sheet Piling are SZ-14 SZ-14.5RU SZ-18 etc typical sizes in America and USA.The resistance of the foundation to the settling, overturning and sliding forces acting on the bin is a sophisticated engineering evaluation. Concentrated dead loads shall be incorporated into the internal and external stability design by using a simplified uniform vertical distribution of 2 vertical to 1 horizontal to determine the SZ-14 vertical component of stress with depth within the reinforced soil mass.THEREFORE, SITE INVESTIGATIONS AND ANALYSES SHOULD BE COMPLETED BY A PROFESSIONAL ENGINEER.Contech Marine Bin-Walls are well suited to freshwater marina construction.
Depending on the size and location of the concentrated dead load, the location of the boundary between the active and resistant zones may need to be adjusted. When traffic barriers are placed at the top of MSE walls, SZ-14.5RU shall be constructed on a support slab which is designed to resist the overturning due to the design horizontal impact load applied to the barrier. Placing the steel bins into the water and then filling with SZ-18 granular material (1 /4” to 6” provides a structure with a heavy mass to resist overturning, sliding or ice uplift. With fill material smaller than 1/4”, a geotextile must be used to prevent loss of SZ-20 fill. How concentrated horizontal dead loads may be distributed within and behind the reinforced soil mass.
Medium cold formed sheet pile can be SZ-20,SZ-21,SZ-22 profiles.A float scaffolding shall be hung from overhead supports by means of ropes, and shall consist of a substantial platform having diagonal bracing underneath and resting upon, and securely SZ-21 fastened to two parallel plant bearers at right angles to the span.Traffic loads shall be considered in accordance with the criteria outlined in Article 5.5.5.10.5. Traffic loads should be positioned to maximize their effects. Contech Marine Bin-Walls consist of pre-engineered steel members, bolted together to form a closed-face bin. These bins are SZ-22 filled with granular material (1/4” to 6”) to provide a durable and sturdy structure.
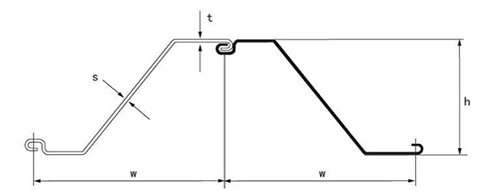
| Section | Dimensions | Mass | Moment of inertia |
Modulus of section |
|||
| Width | Height | Thickness | Pile | Wall | |||
| w | h | t/s | |||||
| In | In | In | Lbs/ft | Lbs/ft2 | In4/ft | In3/ft | |
| SZ-10 | 22 | 7.5 | 0.164 | 16.6 | 9.4 | 27.4 | 7.3 |
| SZ-11 | 22 | 7.5 | 0.179 | 18.2 | 10.3 | 29.8 | 7.9 |
| SZ-12 | 22 | 7.5 | 0.209 | 21.2 | 12.0 | 34.8 | 9.2 |
| SZ-14 | 22 | 7.5 | 0.239 | 24.4 | 13.5 | 39.9 | 10.4 |
| SZ-15 | 22 | 7.5 | 0.250 | 25.5 | 14.0 | 41.7 | 10.9 |
| SZ-14.5 | 26.75 | 9.46 | 0.250 | 32.4 | 14.5 | 61.49 | 13.0 |
| SZ-14.5RU | 26.75 | 9.46 | 0.270 | 35.1 | 15.7 | 66.40 | 14.0 |
| SZ-18 | 26.75 | 9.46 | 0.312 | 40.4 | 18.1 | 76.83 | 16.2 |
| SZ-20 | 26.75 | 9.46 | 0.340 | 44.1 | 19.8 | 83.37 | 17.5 |
| SZ-21 | 26.75 | 9.46 | 0.350 | 45.3 | 20.3 | 86.00 | 18.1 |
| SZ-22 | 26.75 | 9.46 | 0.375 | 48.6 | 21.8 | 91.92 | 19.3 |
| SZ-250 | 24.5 | 10.75 | 0.250 | 32.4 | 15.9 | 89.42 | 16.6 |
| SZ-313 | 24.5 | 10.75 | 0.312 | 40.4 | 19.9 | 111.53 | 20.6 |
| SZ-340 | 24.5 | 10.75 | 0.340 | 44.1 | 21.5 | 121.45 | 22.4 |
| SZ-350 | 24.5 | 10.75 | 0.350 | 45.3 | 22.1 | 124.62 | 22.9 |
| SZ-375 | 24.5 | 10.75 | 0.375 | 48.6 | 23.5 | 133.35 | 24.5 |
| SZ-222 | 22 | 12.25 | 0.312 | 40.4 | 26.7 | 163.09 | 26.7 |
| SZ-24 | 22 | 12.25 | 0.340 | 44.1 | 29.0 | 177.52 | 29.0 |
| SZ-25 | 22 | 12.25 | 0.350 | 45.3 | 29.7 | 181.19 | 29.7 |
| SZ-27 | 22 | 12.25 | 0.375 | 48.6 | 32.0 | 195.18 | 32.0 |
